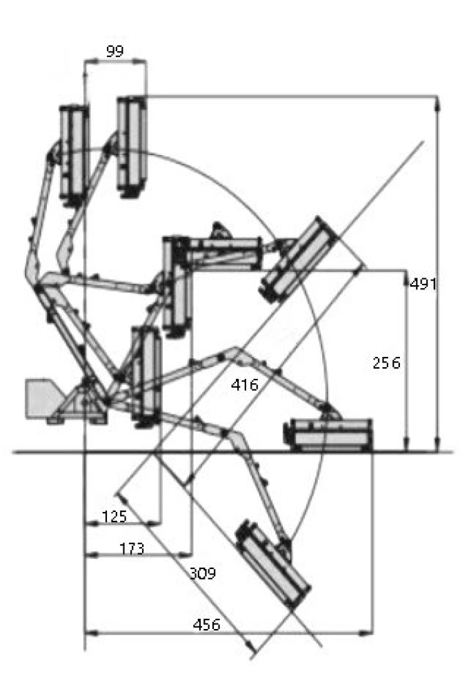
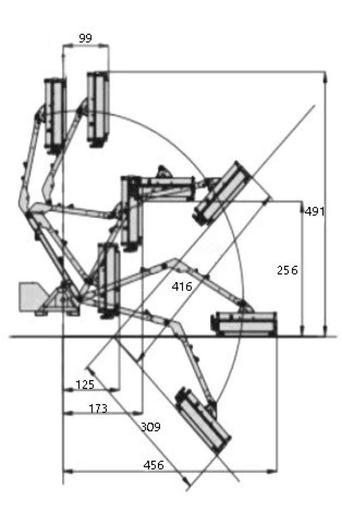
Epareuse d'occasion
Pour votre prochaine épareuse d’occasion, pourquoi ne pas passer par Zagrow ? Ce sont plus de 34 annonces d'épareuses présentées sur notre plateforme, sélectionnées par notre réseau de partenaires parmi les plus grandes marques : Kuhn, Normal, Desvoys, Rousseau, Maschio …
Filtres
Filtres





































































































































































































































